一只小小的盲盒玩偶,撬动了一个百亿级市场。近期,Labubu 火遍全球,泡泡玛特股价也持续上涨。
支撑其高速扩张的,除了源源不断的爆款 IP 创意,还有一道由 2000 多件注册商标组成的品牌壁垒!
泡泡玛特已打造超 90 个自有及独家 IP 资源,从这些 IP 的商标布局中,创业者们能收获宝贵启示。甄标分享~
一、全类别商标注册,构建坚固品牌壁垒
泡泡玛特名下拥有超 2000 枚商标,对旗下每个 IP,如 Molly、Dimoo、Labubu 等,均进行全方面商标保护。
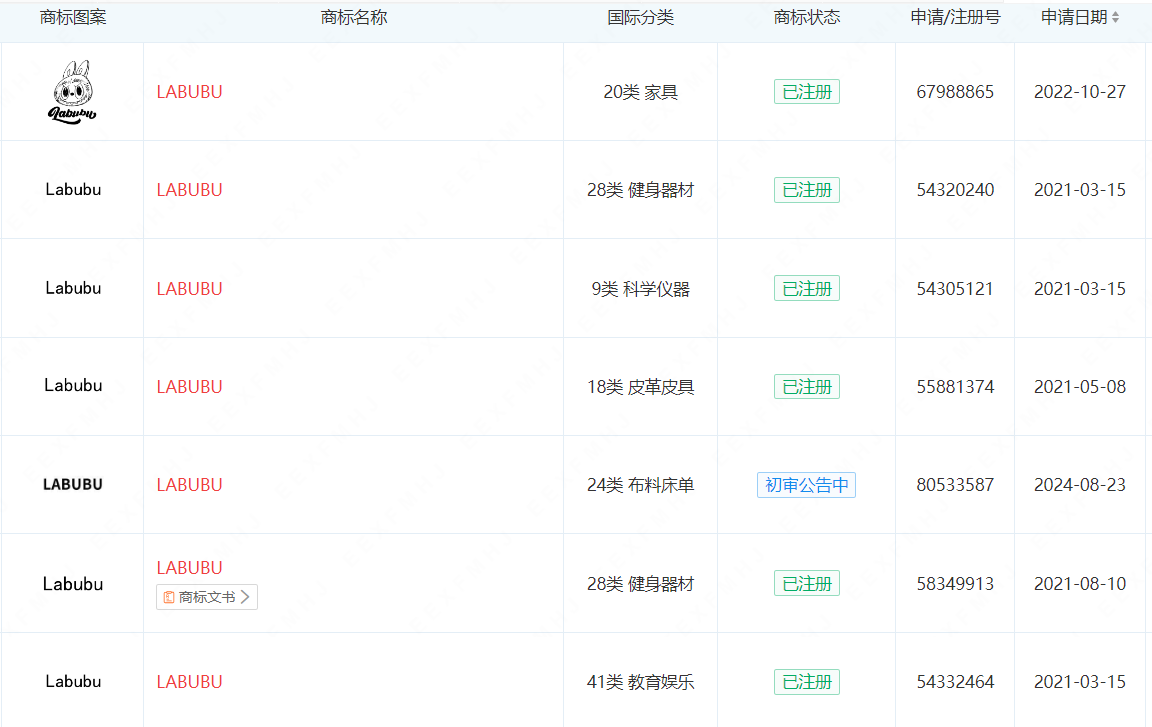
以 Labubu 为例,不仅注册核心第 28 类玩具商标,还在第 16 类文具、第 35 类广告销售、第 41 类教育娱乐等相关类别防御性注册,甚至文字和图片都实现全品类商标注册。这有效杜绝其他主体 “搭便车”、蹭名牌现象。

图源网络,侵联删
创业者往往聚焦产品直接相关类别,忽略关联领域。比如餐饮创业者注册餐饮服务类别后,忽视食品加工、外卖配送、餐饮周边产品等类别。
当品牌发展壮大,想拓展业务或推出周边,可能发现心仪商标已被他人注册,要么高价回购,要么忍痛放弃,严重阻碍品牌发展。
创业者应借鉴泡泡玛特,依据品牌定位与发展规划,提前进行全类别商标布局,涵盖产品生产、销售、宣传推广、衍生产品开发等各个环节,从源头保护品牌,防止品牌价值被稀释。
二、提前布局,把握商标注册先机
早在 2010 年,泡泡玛特还未在大众视野中真正爆红时,就已提交了多个商标注册,覆盖了诸多方面,从起盘到火爆,从内容端到电商平台,从 IP 授权到海外布局,一路畅通无阻。
反观不少山寨 “爆盒”“趣玩星球”,因没有商标,被平台下架,甚至被泡泡玛特反告侵权。
在竞争激烈的市场环境下,企业需建立商标战略的顶层设计思维,通过事前规划与体系化布局构建竞争壁垒,方能在市场竞争中获取主动权,为长期价值创造提供法律保障。

图源网络,侵联删
很多创业者对商标重要性认识不足,等品牌有一定知名度才考虑注册,此时热门商标早已被抢注。
一些创业者甚至使用未注册的商标开展业务,一旦被他人抢注,可能面临商标侵权诉讼,多年心血付诸东流。
创业者应树立 “市场未动,商标先行” 理念,在品牌策划阶段,就进行商标检索与注册,确保品牌名称、标识等具有独特性与可注册性,抢占商标资源,为品牌发展奠定基础。
三、组建专业团队,强化商标管理与维权
泡泡玛特组建涵盖商标、专利、版权领域的专业团队,全面负责知识产权的申请、维护、监控和维权,确保每个创意成果受到合法保护。
面对市场上的侵权行为,如假冒伪劣产品、未经授权使用 IP 形象等,泡泡玛特积极采取法律手段维权,打击侵权行为,维护品牌形象与市场秩序。
创业者在商标管理上常力不从心,既缺乏专业知识,又无精力监控市场。一些创业者虽注册了商标,但对商标有效期、续展时间等关键信息管理不善,导致商标过期未续展而失效。
泡泡玛特凭借强大的 IP 矩阵与完善的商标布局,在潮玩市场独占鳌头。创业者们应汲取其成功经验,重视商标布局,全方位保护品牌,为企业长远发展保驾护航。
以上就是甄标今天分享关于90个IP赚百亿!泡泡玛特的商标布局,给创业者3点启示的全部内容了。如果您需要进一步的帮助